Чтобы сохранить список, вам нужно:
Войтиили
Зарегистрироваться
Развитие современной экономики постоянно ставит перед инженерной мыслью все новые и новые задачи — в том числе и в сфере вентиляции. Высотные здания, океанские корабли на ходу и в стапелях, производственные помещения для промышленности и сельского хозяйства — все они нуждаются в вентиляции, и для многих из них привычные схемы поставки свежего воздуха оказываются не подходящими. В этой статье мы разберем несколько примеров систем вентиляции для современных конструкций.

Начнем с высотных зданий. С одной стороны, их выдающиеся размеры в высоту являются для проектировщиков сплошным плюсом: если оставить в центре такого здания вентиляционную шахту, то она просто в силу своей длины будет работать так же, как высокая дымовая труба на предприятии, а создаваемая ей тяга будет исключать необходимость в принудительной вентиляции помещений.
С другой стороны, слишком большая тяга в системе естественной вентиляции имеет свои недостатки: она чересчур активно «вытягивает» теплый воздух из нижних этажей высотных зданий, что «выхолаживает» их и создает дополнительную нагрузку на систему отопления. Кроме того, высокая тяга в вентиляционном канале небезопасна в противопожарном смысле — по ней огонь может стремительно распространяться вверх.
Поэтому в современном высотном строительстве используется такая схема вентиляции, при которой центральная вентиляционная шахта не является «сквозной» для всех этажей, а делится на несколько вертикальных секций, выводящих воздуховоды не на крышу здания, а в технические этажи (как правило — кратных 13), которые выступают в роли горизонтальных вентиляционных каналов.
Они не дают возникнуть слишком сильной тяге в системе естественной вентиляции, и они же являются поперечными преградами для распространения огня при пожаре. Разумеется, что выполняются такие технические этажи из особо огнеупорных материалов.

Еще одна проблемная сфера, связанная с вентиляцией — это проветривание подземных коммуникаций. Задача эта особенно актуальна для тех крупных городов, в которых есть метрополитен. В метро каждый день бывают сотни тысяч людей, поэтому снабжение их свежим воздухом — задача важная и, к сожалению, непростая.
Организация вытяжной вентиляции отчасти решается благодаря разной глубине залегания линий метро и самому процессу его функционирования: курсирующие по линиям метро составы играют роль своеобразных «поршней», которые в узких тоннелях «гонят» перед собой воздух, частично выходящий через вентиляционные колодцы, расположенные между станциями. Такую вытяжную вентиляцию в метро можно считать естественной.
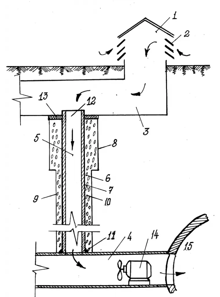
Но вот приток свежего воздуха в метрополитен требует вентиляции принудительной. Схема такой вентиляции (которая также применяется в шахтах, рудниках, тоннелях и прочих подземных сооружениях) выглядит примерно так:
Воздухозаборные камеры располагаются в экологически благоприятных районах (парках, скверах и т. д.) в местах сближения нескольких линий метро и соединяются с ними неглубокими горизонтальными штольнями.
При включении вентилятора (14) наружный воздух всасывается в вентиляционную камеру (1) через фильтрующую решетку (2) в полость верхней горизонтальной штольни (3), а затем по трубе (6) проникает в нижнюю штольню (4), а оттуда — непосредственно в тоннель (15).
Сочетание естественной вытяжной и принудительной приточной вентиляции позволяет создавать в метрополитене достаточно интенсивный и постоянный воздухообмен, который часто воспринимается посетителями метро как «подземный ветер».
Система вентиляции всегда остается важным пунктом, который необходимо учитывать при проектировании сооружений и конструкций любой сложности. Подобрать необходимые компоненты для установки вентиляции можно в ТВК «ЭлектроЦентр» и на сайте интернет-магазина stv39.ru.
1. Общие положения
1.1. Настоящее Пользовательское соглашение (далее – Соглашение) относится к сайту Интернет-магазина stv39.ru, расположенному по адресу 238311, Калининградская обл., Большое Исаково, ул. Старокаменная, дом. 35, и ко всем соответствующим сайтам, связанным с сайтом stv39.ru.
1.2. Сайт Интернет-магазина stv39.ru (далее – Сайт) является собственностью ИП «Зверев И.В.».
1.3. Настоящее Соглашение регулирует отношения между Администрацией сайта Интернет-магазина stv39.ru (далее – Администрация сайта) и Пользователем данного Сайта
1.4. Администрация сайта оставляет за собой право в любое время изменять, добавлять или удалять пункты настоящего Соглашения без уведомления Пользователя.
1.5. Продолжение использования Сайта Пользователем означает принятие Соглашения и изменений, внесенных в настоящее Соглашение.
1.6. Пользователь несет персональную ответственность за проверку настоящего Соглашения на наличие изменений в нем.
Полная версия документа